ISO-BF Long Weld Stub Bolted Flanges
Model: 100762720
ISO-BF Long Weld Stub Bolted Flanges
Model: 100762720

Overview
Overview
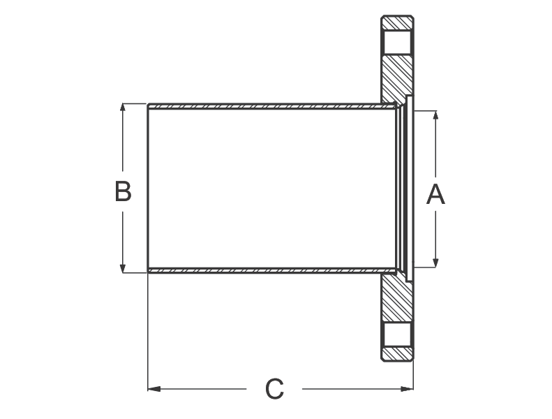
The 100762720 Bolted Weld Stub Flange is made with 304 stainless steel and designed to be buttwelded to 8 inch OD vacuum tubing. This weld stub features a size NW200 ISO-BF vacuum flange and has a 3.94 in. (100 mm) overall length. Series 76 ISO-BF components feature a vacuum flanging system for 63 mm to 630 mm fittings with flange dimensions meeting the requirements established by the International Standards Organization (ISO). They function as modular building blocks in vacuum piping systems and are compatible with ISO compliant components from other manufacturers. ISO-BF flanges are “sexless” with the seal on a symmetrical centering ring that interfaces with two identical size ISO flanges. ISO-BF flanges are more compact than ASA flanges, which were designed for pressure and are unnecessarily massive for vacuum use. The Series 76 ISO-BF flanges can be joined to ISO-MF flanges by using a rotatable bolt ring on the ISO-MF flange or to other ISO-BF flanges by simply bolting together. Applications ISO universal components include roughing and foreline plumbing, high-vacuum, high-conductance interconnections, modular systems needing frequent modifications, and research laboratories.
Technical Specs
- Component TypeWeld Stub Flange
- SeriesSeries 76
- Flange TypeISO-BF
- Flange SizeNW200
- Tube OD8.0 in.
- Material304 Stainless Steel
- Inner Diameter7.76 in. (197 mm)
- Length3.94 in. (100 mm)
- Dimension "A"7.76 in.
- Dimension "B"8.00 in.
- Dimension "C"3.94 in.

Technical Specs
- Component TypeWeld Stub Flange
- SeriesSeries 76
- Flange TypeISO-BF
- Flange SizeNW200
- Tube OD8.0 in.
- Material304 Stainless Steel
- Inner Diameter7.76 in. (197 mm)
- Length3.94 in. (100 mm)
- Dimension "A"7.76 in.
- Dimension "B"8.00 in.
- Dimension "C"3.94 in.

