ISO-KF Stainless Steel Short Weld Stub Flanges
Model: 100310300
ISO-KF Stainless Steel Short Weld Stub Flanges
Model: 100310300

Overview
Overview
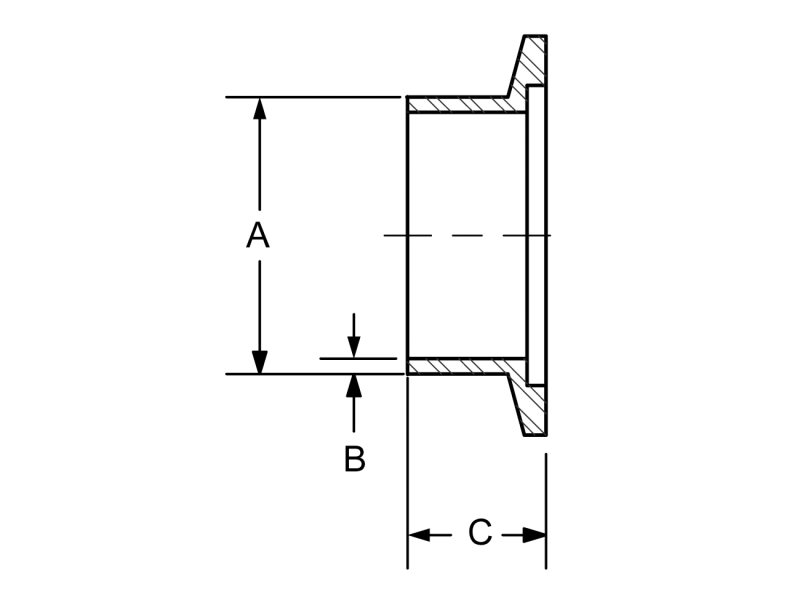
The 100310300 Short Weld Stub Flange is made with 304 stainless steel and designed to be buttwelded to 1/2 inch OD vacuum tubing. This weld stub features a size NW16 ISO-KF vacuum flange and has a 0.5 in. overall length. Series 31 ISO-KF vacuum components are designed for use at subatmospheric pressure and use standard interface dimensions defined by the International Standards Organization (ISO) allowing them to be interchangeable with other ISO-KF compliant components. Series 31 components can be used as modular building blocks to create vacuum piping systems. IS-KF flanges are "sexless" with a symmetrical seal so that so that components are rotatable. ISO-KF vacuum flanges are joined by inserting a centering ring between the two flange faces, and securing them with a flange encompassing clamp.
Technical Specs
- Component TypeWeld Stub Flange
- SeriesSeries 31
- Material304 Stainless Steel
- Flange TypeISO-KF
- Flange SizeNW10
- Tube OD0.5 in.
- Wall Thickness0.065 in. (1.7 mm)
- Length0.50 in. (12.7 mm)
- Dimension "A"0.50 in.
- Dimension "B"0.065 in.
- Dimension "C"0.50 in.

Technical Specs
- Component TypeWeld Stub Flange
- SeriesSeries 31
- Material304 Stainless Steel
- Flange TypeISO-KF
- Flange SizeNW10
- Tube OD0.5 in.
- Wall Thickness0.065 in. (1.7 mm)
- Length0.50 in. (12.7 mm)
- Dimension "A"0.50 in.
- Dimension "B"0.065 in.
- Dimension "C"0.50 in.

