ISO-KF Stainless Steel Weld Socket Flanges
Model: 100318301
ISO-KF Stainless Steel Weld Socket Flanges
Model: 100318301

Overview
Overview
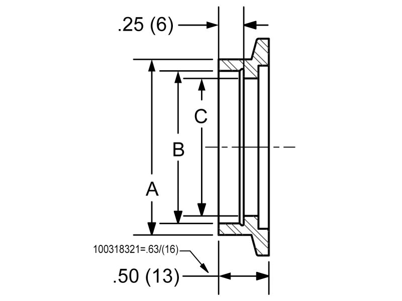
The 100318301 Weld Socket Flange features a NW16 size ISO-KF vacuum flange and is designed for 1/2 inch outside diameter vacuum tubing. This 304 stainless steel weld socket is self aligning, features standard tube weld prep., and is also suitable for butt welding. Series 31 ISO-KF vacuum components are designed for use at subatmospheric pressure and use standard interface dimensions defined by the International Standards Organization (ISO) allowing them to be interchangeable with other ISO-KF compliant components. Series 31 components can be used as modular building blocks to create vacuum piping systems. IS-KF flanges are "sexless" with a symmetrical seal so that so that components are rotatable. ISO-KF vacuum flanges are joined by inserting a centering ring between the two flange faces, and securing them with a flange encompassing clamp.
Technical Specs
- Component TypeWeld Socket Flange
- SeriesSeries 31
- Material304 Stainless Steel
- Flange TypeISO-KF
- Flange SizeNW16
- Tube OD0.5 in.
- Length0.50 in. (12.7 mm)
- Inner Diameter0.45 in. (11 mm)
- Bore Diameter0.51 in. (13 mm)
- Outer Diameter0.61 in. (15 mm)
- Dimension "A"0.61 in.
- Dimension "B"0.51 in.
- Dimension "C"0.45 in.

Technical Specs
- Component TypeWeld Socket Flange
- SeriesSeries 31
- Material304 Stainless Steel
- Flange TypeISO-KF
- Flange SizeNW16
- Tube OD0.5 in.
- Length0.50 in. (12.7 mm)
- Inner Diameter0.45 in. (11 mm)
- Bore Diameter0.51 in. (13 mm)
- Outer Diameter0.61 in. (15 mm)
- Dimension "A"0.61 in.
- Dimension "B"0.51 in.
- Dimension "C"0.45 in.

